Hex Flame Proof-cum-weather Proof Double Compression Type Cable Glands

(Gas Group IIA Zone 1 & 2 Atmosphere)
Technical Data

Material

  • Brass as per IS 319
  • Also available in: Aluminium (Al.), Stainless Steel (S.S.), Mild Steel (M.S.)


Plating

  • Nickel Plated (Standard)
  • Chrome Plating (On Request)


Entry Threads

  • Metric (Standard)
  • Also available in: BSC, PG, NPT, BSP, ET


Sealing Rubber Ring

  • Neoprene


Gland Standard

  • BS 6121


Ingress Protection & Testing

  • Flame Proof Testing
  • As per IS/IEC 60079-1 : 2007 (Reaffirmed 2014)


Weather Proof Testing

  • As per IS/IEC 60529 : 2001
  • IP-66 Rated


Test Certificate

  • IN/CIMFR/TC/TR22/R/1131 (Dt. 18.07.2022)


Series

  • HCGF
Application

These Glands are used in flammable gas / vapours area as well as in climatic conditions which are weather proof, water
proof and dust proof (IP 66). They may be used in corrosive conditions when protected by a shroud

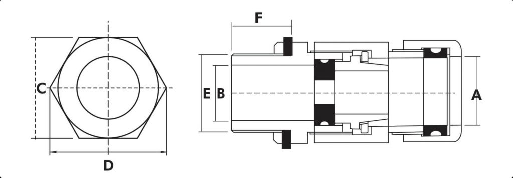
PARTS OF GLAND :

  1. Brass Check Nut
  2. Rubber Washer
  3. Brass Gland Body
  4. Rubber Inner Seal
  5. Brass Armour Clamping Cone
  6. Brass Armour Clamping Ring
  7. Brass Armour Clamping Nut
  8. Rubber Outer Seal
  9. Brass Compression Nut


All metal parts are accurately machined for ease of assembly

Accessories

Shrouds, Earth Tags, Stopping Plugs, Reducers, Adaptors, etc are available separately and should be specified when
ordering the gland.

Assembly Sequence
  1. Engage & tighten item 2 and 3 into apparatus (Secure with item 1 if plain hole entry).
  2. Pass item 9, 8 and 7 respectively over the cable before commencing to strip outer sheath.
  3. Remove the sheath to the desired length depending on the lengths of leads required and pass item 6 over the exposed armour.
  4. Cut the armour to length, lift wire ends, pass item 5 over the exposed bedding and beneath the armour.
  5. Insert items 4 and 3 on the bedding of the cable.
  6. Engage and tighten items 7 and 3.
  7. Engage and tighten items 9 and 7
WordPress Responsive Table
Open chat
Hello!
How can we help you?